大家好,我是青云!
今天和大家分享一下,我们Facebook广告扩量的一些关键点,通过分析数据来判断这个广告,该不该扩量。
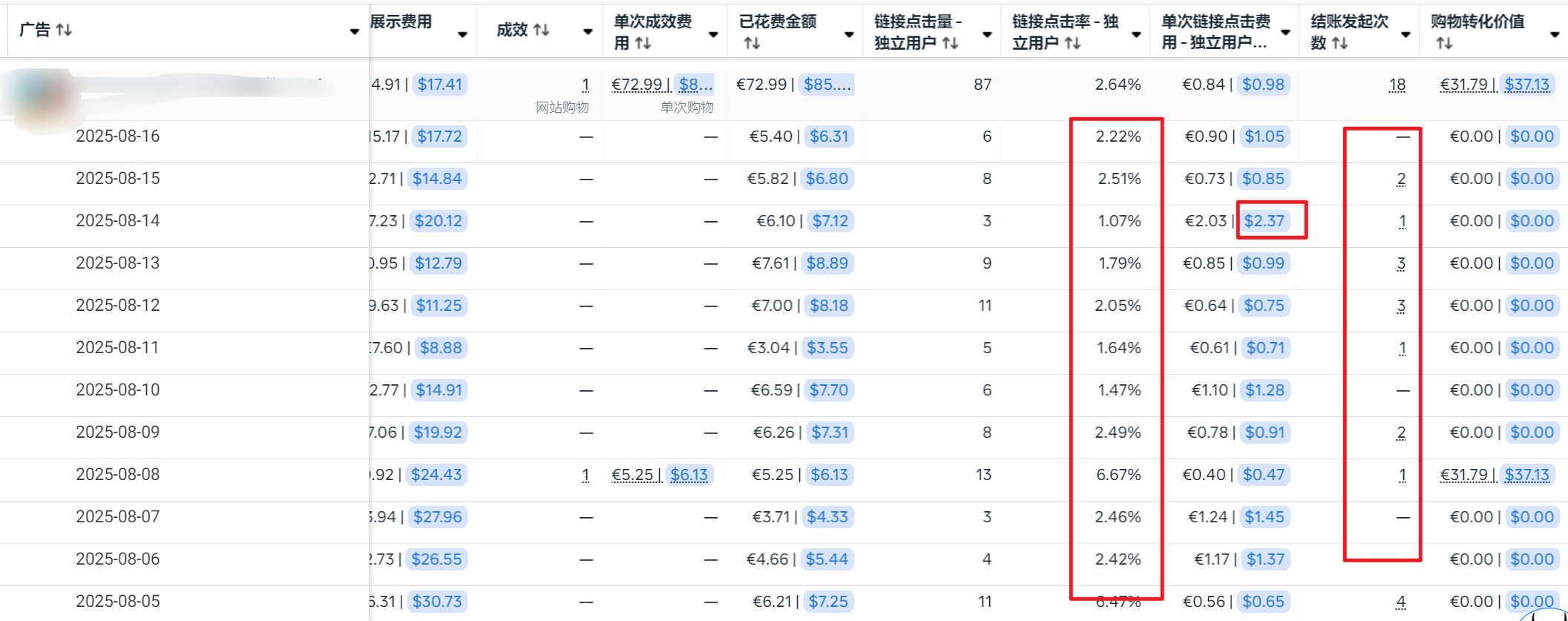
先上一条广告:

大家可以看到上图:
我们这条广告,跑了近 10天,
CPM还是比较稳定,波动不大
但是我们看到点击率,点击率大都是 1%- 2%,点击率比较低!
CPC:CPC波动不大,只有一天是超过 2美金
结账发起次数:基本上每天都有发起结账,但是不多,只有 1个或者 2个,最多也就 3个发起结账。
总结:点击率比较低,结账发起次数太少,这条广告就很难跑正,如果点击率比较低,发起结账多,才有可能跑正。所以这条广告并不适合来放量!
再和大家一起看一条广告:

这条广告,跑了 10多天,我们可以看到,有3个出单,点击率还是可以的,4%- 5%(一般来说点击率在5%以上是不错的,是合格的 )
再看到,发起结账的数据,发起结账,每天都有 3-4个,并不是像上条广告,每天只有 1个发起结账!
加上CPM平稳,CPC也平稳,综合这些数据,可以直接扩量,可以拉预算,也可以横向扩量,直接复制 5-10个广告组出来,去跑。赚钱的概率就非常大!
今天,青云分享我们Facebook广告跑电商品的一些fb广告分析知识,可以说很珍贵,有价值,希望对你有帮助!

